Система крепления датчиков и КИПиА RSA-FLEX

Система крепления датчиков и КИПиА RSA-FLEX специально разработана для удобного монтажа и обслуживания датчиков на очистных сооружениях, открытых бассейнах, каналах и емкостях.
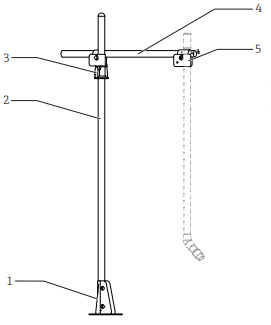
Набор системы держания датчика RSA-FLEX на аэротенк

Система крепления RSA-FLEX конструктивно состоит из монтажной стойки RSA-FLEX-CYH112 и соединительной арматуры RSA-FLEX-CYA112
Монтажная стойка RSA-FLEX-CYH112 исполняется из нержавеющей стали (AISI 304). Соединительная арматура RSA-FLEX-CYA112 имеет два исполнения: нержавеющая сталь (AISI 304) и ПВХ (PND).
Пример измерительной системы
- Монтажная стойка RSA-FLEX-CYH112
- Контроллер RSA-KIP-PLC4-230
- Защитный козырек от негативных погодных условий из нержавеющей стали
- Кабельные стяжки на липучках
- Кабельные стяжки на липучках
- Соединительная арматура погружного исполнения RSA-FLEX-CYA112 из нержавеющей стали
Комплект поставки RSA-FLEX-CYH112 поставляется комплектно с цепью, позволяющей крепить датчики. «Цепь» – погружная трубка, оснащенная многофункциональным стяжным кольцом и подвесным кронштейном.
Защитный козырек, контроллер RSA-KIP-PLC4-230 и соединительная арматура RSA-FLEX-CYA112 заказывается отдельно.
1. Монтажная стойка RSA-FLEX-CYН112



Внешний вид монтажной стойки RSA-FLEX-CYH112
Назначение RSA-FLEX-CYH112
Монтажная стойка для арматуры разработана для использования в секторе водоотведения. RSA-FLEX-CYH112 представляет собой модульный держатель для датчиков и арматуры, устанавливаемых в аэротенках, каналах и резервуарах.
Конструкция прибора RSA-FLEX-CYH112
Пример монтажной стойки RSA-FLEX-CYH112

- Основание
- Главная труба
- Многофункциональное зажимное кольцо
- Поперечная труба
- Перекрестный зажим
2. Соединительная арматура RSA-FLEX-CYA112
- RSA-FLEX-CYA112 – модульная арматура для датчиков, устанавливаемых в открытых бассейнах, каналах и резервуарах в условиях отсутствия давления.
- Арматура предназначена для использования исключительно в жидкой среде.
Конструкция изделия RSA-FLEX-CYA112
Соединительная арматура RSA-FLEX-CYA112

- Многофункциональное зажимное кольцо
- Погружная трубка
- Кронштейн
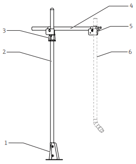
Полная измерительная система состоит из следующих компонентов:

- Соединительная арматура RSA-FLEX-CYA112
- Монтажная стойка RSA-FLEX-CYH112
- Промышленный контроллер, например RSA-KIP-PLC4-230;
- Датчик, например RSA-KIP-QT-10M
Пример полного комплекта установки датчиков на аэротенке

- Основная трубка монтажной стойки RSA-FLEX-CYH112
- Контроллер RSA-KIP-PLC4-230
- Защитный козырек
- Кабельные стяжки
- Кабельные стяжки
- Соединительная арматура RSA-FLEX-CYA112
Стандартное исполнение
Наружный диаметр погружной трубки составляет 40 мм (1,6 дюйм). Эта трубка используется для фиксированного монтажа или с маятниковым держателем. (Маятниковый держатель является частью системы держателей арматуры RSA-FLEX-CYH112.)
С цепным держателем
Погружная трубка подвешивается к цепи сверху путем зацепления за многофункциональное зажимное кольцо и кронштейн из нержавеющей стали. (Цепь является частью системы держателей арматуры RSA-FLEX-CYH112.)






